Aug . 2023
O protocolo ANT+ é uma tecnologia de transmissão sem fio de baixo consumo de energia usada principalmente para transferência de dados entre dispositivos de fitness, sensores esportivos e dispositivos inteligentes. Ele opera em 2,4 GHz e oferece características de baixo consumo de energia, baixa latência e alta confiabilidade. As amplas aplicações do protocolo ANT+ na indústria de fitness, como monitoramento de frequência cardíaca, contagem de passos e rastreamento de movimento. Portanto, para dispositivos esportivos compactos, os módulos ANT+ não precisam apenas considerar o consumo de energia, mas também focar no design do módulo miniaturizado. Um design de módulo pequeno facilita a integração e ajuda a reduzir o volume e o peso geral dos dispositivos. Além disso, há uma demanda por soluções de módulos customizados em cenários de aplicação específicos.

O módulo RF51422 é um módulo transceptor sem fio ANT+ de interface UART, equipado com um chip System-on-Chip (SOC) de alto desempenho e pilha de protocolo ANT+ integrada. Os clientes podem estabelecer comunicação entre dispositivos ANT+ diretamente através de comandos UART padrão, tornando-o adequado para o desenvolvimento de produtos compatíveis com o protocolo ANT+ padrão. Este módulo é compatível com a maioria dos dispositivos com protocolo ANT+ disponíveis no mercado. O módulo RF51422 é produzido e testado com tecnologia sem chumbo, aderindo aos padrões RoHS e Reach.

O módulo RF51422 possui os seguintes perfis ANT+ integrados:
Esses perfis ANT+ integrados permitem que o módulo RF51422 suporte uma ampla gama de aplicações e forneça conectividade e transmissão de dados perfeitas para vários dispositivos compatíveis com ANT+.
Os parâmetros de desempenho do RF51422 são os seguintes:
Parâmetro | Mínimo | PT | Máx. | Unidade | Doença |
Condições de operação | |||||
Tensão de alimentação | 1,8 | 3.3 | 3.6 | V |
|
Faixa de temperatura operacional | -40 | 25 | 85 | ℃ |
|
Consumo atual | |||||
Corrente de emissão |
| 6.8 | 8 | mA | @3,3 V |
Receber atual |
| 2.9 |
| mA | @3,3 V |
Corrente de sono |
| 0,26 |
| mA |
|
Depois de ligar o módulo, ele abrirá automaticamente o canal de varredura do dispositivo ANT+ e emitirá uma mensagem de inicialização através da porta serial. Neste momento, se houver dispositivos ANT+ transmitindo dados, a porta serial emitirá continuamente os dados recebidos. Se você não precisar deste canal de varredura, poderá fechá-lo usando comandos específicos. O módulo possui três modos de funcionamento: modo normal, modo de suspensão e modo de atualização de firmware. Outra característica deste módulo é seu design de tamanho reduzido.
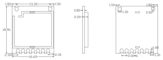
Dimensões Mecânicas do Módulo (Unidade: mm, Tolerância: ±0,01mm)

Para o módulo de interface do protocolo ANT+, o módulo RF51422 não apenas atende aos requisitos de baixo consumo de energia e design de tamanho pequeno, mas também oferece soluções personalizadas adaptadas a necessidades específicas. Das dimensões, características ao desempenho, do design, desenvolvimento aos testes, a NiceRF se concentra na criação de soluções customizadas para garantir a qualidade e o desempenho dos módulos customizados.
+86-755-23080616
vendas@nicerf.com
Site: https://www.nicerf.com/
Endereço: 309-314, 3/F, Bldg A, edifício comercial Hongdu, Zona 43, Baoan Dist, Shenzhen, China
política de Privacidade
· Política de Privacidade
No momento não há conteúdo disponível
E-mail: sales@nicerf.com
Tel:+86-755-23080616