Modelo: Áudio sem fio
Certificação: Outras
Potência de saída: 160mW
Tamanho (mm):48,1*33,9
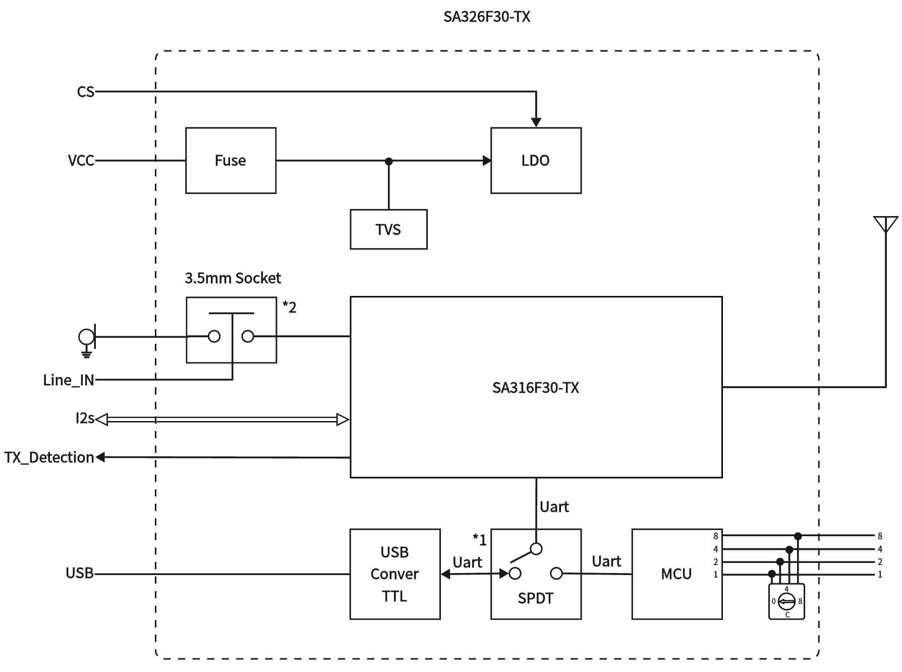
A NiceRF lançou o novo módulo de áudio sem fio SA326, de baixa latência, longa distância, alta taxa de amostragem e alta fidelidade. Os produtos da série SA326 são divididos em módulo transmissor SA326-TX e módulo receptor SA326-RX. Este produto é uma placa de aplicação para os módulos SA316-TX e SA316-RX. Ele pode ser ligado após a inicialização. Você também pode definir a frequência do módulo diretamente com o software do PC. O tamanho do som e outros parâmetros simplificam bastante o desenvolvimento do usuário, sendo amplamente utilizado em ocasiões com requisitos de qualidade de som relativamente altos.
Parâmetro | Condições de teste | Mín . | Tipo . | Máx . | Unidade |
Faixa de tensão de operação | 3.3 | 4.2 | 5 | V | |
Faixa de temperatura de trabalho | -20 | 25 | 60 | °C | |
Faixa de frequência operacional | @UHF | 500 | 980 | MHz | |
@VHF | 160 | 270 | MHz | ||
Atraso na transmissão e recepção de áudio | 4 | EM | |||
Taxa de transmissão da porta serial | 9600 | bps | |||
Consumo atual | |||||
Corrente de sono ( SA326-RX) | < 45 | uA | |||
Corrente de sono ( SA326F30-TX ) | < 20 | uA | |||
Receber corrente ( SA326-RX) | @VCC= 4,2 V | < 1 40 | mA | ||
Corrente de transmissão ( SA326-TX ) | @ Não transmitindo | < 75 | mA | ||
@ Durante a transmissão | <1 20 | mA | |||
Corrente de emissão ( SA326F30-TX ) | @Não transmitindo,5v | < 75 | mA | ||
@ Durante a transmissão , 5v 30dBm | < 700 | mA | |||
Parâmetro de transmissão | |||||
Transmitir potência | @VCC= 4,2 V | 9 | 1 0 | 11 | dBm |
@VCC= 5,0 V | 29 | 30 | 31 | dBm | |
faixa de potência de transmissão | @VCC= 4,2 V | 0 | 10 | dBm | |
@VCC= 5,0 V | 20 | 30 | dBm | ||
Largura de banda de emissão ( BW) | 300 | KHz | |||
Relação de potência do canal adjacente ( ACPR ) | @600KHZ | -6 0 | dB c | ||
Tensão máxima de entrada do microfone | 0,3 | 1. 5 | Vrms | ||
Faixa de resposta de frequência de áudio | 30 | 20 mil | Hz | ||
Parâmetros de recebimento | |||||
Sensibilidade de recepção | - 96 | dBm | |||
Amplitude de saída de áudio (diferencial) | 400 | m V rms | |||
Resistência do acionamento de saída de áudio | 600 | Ohm | |||
Resistor de acionamento LOUT+,ROUT+ | 16-32 | Ohm | |||
Resistor de acionamento SPKP, SPKN | 4-8 | Ohm | |||
Relação sinal-ruído (SNR) | @1KHz , | 86 | dB | ||
Distorção harmônica total (THD) | @48K Taxa de amostragem e | 0,07 | % | ||
SA326F30-TX

SA326-RX

SA326F30-TX

Pino Nº . | Nome do PIN | E/S | Nível padrão | Descrição |
1,2,8,12,18 | Terra | 0 | Conecte o pólo negativo da fonte de alimentação | |
3 | NC | |||
4 | 1 | EU | 0-3,3 V | Frequência 16 canais codificação 8421, o primeiro dígito, saída padrão "1" |
5 | 2 | EU | 0-3,3 V | Codificação de frequência de 16 canais 8421, o segundo bit, saída padrão "1" |
6 | 4 | EU | 0-3,3 V | Frequência 16 canais codificação 8421, 4º bit, saída padrão "1" |
7 | 8 | EU | 0-3,3 V | Frequência 16 canais codificação 8421, 8º bit, saída padrão "1" |
9 | GPIO4 | E/0 | 0-3,3 V | GPIO4 com chip de áudio interno |
10 | GPIO3 | E/S | 0-3,3 V | Conecte ao GPIO3 do SA316 F30 -TX, ele pode ser configurado como SDIN ao usar o modo I2S |
11 | VCC | 3,3-5V | O polo positivo da fonte de alimentação externa. (Valor típico 4V) | |
13 | CS | EU | 0-5V | Conectado internamente ao EN do LDO, puxe para baixo a dormência, pull-up interno, saída padrão "1" |
14 | TX_DE | O | 0-3,3 V | O pino indicador de transmissão fica alto durante a transmissão e baixo quando não está transmitindo. |
15 | GPIO1 | E/S | 0-3,3 V | Conectado internamente ao GPIO1 do SA326F30-TX , ao usar o modo I2S, pode ser configurado como SCK |
16 | GPIO0 | E/S | 0-3,3 V | Conectado internamente ao GPIO0 do SA326F30-TX , ao usar o modo I2S, pode ser configurado como LRCK |
17 | GPIO2 | E/S | 0-3,3 V | Conectado internamente ao GPIO2 do SA326F30-TX , ao usar o modo I2S, ele pode ser configurado como MCLK |
19 | MIC_N | EU | A entrada negativa do microfone pode ser conectada ao polo negativo do microfone ou aterrada. | |
20 | MIC_P | EU | Terminal positivo de entrada do microfone, (o melhor sinal é menor que 300 mVrms) |
SA326-RX

| Pino Nº. | Nome do PIN | E/S | Nível padrão | Descrição |
| 1 | 1 | EU | 0-3,3 V | Frequência 16 canais codificação 8421, o primeiro dígito, saída padrão "1" |
| 2 | 2 | EU | 0-3,3 V | Codificação de frequência de 16 canais 8421, o segundo bit, saída padrão "1" |
| 3 | 4 | EU | 0-3,3 V | Frequência 16 canais codificação 8421, 4º bit, saída padrão "1" |
| 4 | 8 | EU | 0-3,3 V | Frequência 16 canais codificação 8421, 8º bit, saída padrão "1" |
| 5 | GPIO4 | E/S | 0-3,3 V | Conecte ao GPIO4 do SA316-RX |
| 6 | GPIO3 | E/S | 0-3,3 V | Conectado internamente ao GPIO3 do SA316-RX, pode ser configurado como MCLK ao usar o modo I2S |
| 7 | GPIO2 | E/S | 0-3,3 V | Conectado internamente ao GPIO2 do SA316-RX, ao usar o modo I2S, pode ser configurado como SDIO |
| 8 | CS | E/S | 0-3,3 V | Conectado internamente ao EN do LDO, puxe para baixo a dormência, pull-up interno, saída padrão "1" |
| 9 | Terra | EU | 0 | Conecte o pólo negativo da fonte de alimentação |
| 10 | VCC | EU | 3,3-6 V | O polo positivo da fonte de alimentação externa. (Valor típico 4V) |
| 11 | GPIO1 | E/S | 0-3,3 V | Conectado internamente ao GPIO1 do SA316-RX, ao usar o modo I2S, pode ser configurado como SCK |
| 12 | GPIO0 | E/S | 0-3,3 V | Conectado internamente ao GPIO0 do SA316-RX, ao usar o modo I2S, pode ser configurado como LRCK |
| 13 | Terra | EU | 0 | Conecte o pólo negativo da fonte de alimentação |
| 14 | LOUL LOUT+ | O | Conecte ao LOUT+ do SA316-RX, que pode acionar fones de ouvido diretamente | |
| 15 | Terra | EU | 0 | Conecte o pólo negativo da fonte de alimentação |
| 16 | ROUT+ | O | Conecte ao ROUT+ do SA316-RX, que pode acionar fones de ouvido diretamente | |
| 17 | Terra | EU | 0 | Conecte o pólo negativo da fonte de alimentação |
| 18 | VOL-AJ. | EU | 3,33. 3,3V | Pino de ajuste de volume, o módulo foi conectado a um potenciômetro ajustável de 50K ohm e um potenciômetro externo pode ser conectado |
| 19 | SPKN | O | Pino de saída do amplificador de potência, alto-falante externo de 4 ohms ou 8 ohms de 2 W | |
| 20 | SPKP | O | Pino de saída do amplificador de potência, alto-falante externo de 4 ohms ou 8 ohms de 2 W |
SA326F30-TX

SA326-RX

política de Privacidade
· Política de Privacidade
No momento não há conteúdo disponível
E-mail: sales@nicerf.com
Tel:+86-755-23080616